|
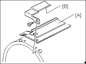
[症状]图像向尾端移动。 [原因]纸削堆积在版纸夹,夹具基座允许版纸向尾端滑动。[解决方法]1. 创建一张新版纸,拆除滚筒,作如图所示标记。
版纸已移动,执行第四步4. 用酒精擦拭并清洁夹具[B]和夹具基座 [A] ,去除堆积的纸屑。 重要: 不要擦拭夹具基座的砂纸部分。 不要用就近擦拭 C262/C265之前的机器。这些机器用湿布擦拭即可。
|
相关文章
理光DD3344C基士得耶CP6303C报代码E-02
症状:基士得耶 cp6303c 机器印刷时报故障 E-02原因:1、纸台电机问题、纸台驱动不良;2、纸台高度传感器,纸台下限传感器不良;3、主板不良。4、线束接...
理光维修 快回来 40
SLNXv3_导出包含大量工作流和组的配置文件配置不会启动下载,并且无法显示
问题:导出包含大量工作流和组的配置文件配置不会启动下载,并且无法显示。 发生的条件:用户尝试导出包含大量工作流和组的概要文件配置。 原因:由于正在处理的组和工作...
理光维修 炒不炒菜 17
理光IM C320F_P C375_M C320FW内存清除后鼓单元设置错误的解决方案
理光IM C320F_P C375_M C320FW内存清除后鼓单元设置错误的解决方案症状当执行内存清除:全部清除(SP:5-801-001)时,例如由于忘记登...
理光维修 访客 3
理光DD 2434C主基板软件变更V1.05→V1.06
DD 2434C主基板软件变更V1.05→V1.06主基板软件变更 V1.05→V1.061. 由于来自给版步进电机动力线的噪声干扰了主电机的译码片传感器,导致...
理光维修 访客 5
理光IM7000 提示“SC530-19”故障代码
Ricoh MP6503SP_7503SP_9003SP,IM 7000_IM 8000_IM 9000症状:客户报修一台MP7503机器面板提示“SC530-...
理光维修 访客 3
理光复印机使用SLNX 软件用户登录延迟
故障:客户使用SLNX-v3.6 刷卡软件,安装后测试使用正常。其中属于相同部门多个用户反映存在刷卡后有时会出现正在验证请等待比较久的提示,也存在正常刷卡后见不...
理光维修 访客 2
理光IMC2010 在进行扫描至FTP作业是会出现直接复印现象
症状一台理光IMC2010 在进行扫描至FTP作业是会出现直接复印现象可能的原因:控制器问题/设置问题维修过程1.现场查看故障情况,进行FTP扫描后机器并不会有...
理光维修 访客 2
理光MC2000打印黑白出现黑线及无字区域
理光MC2000打印黑色测试页出现黑色竖线及无字区域,如图解决方法:更换黑色套鼓问题未解决,打印彩色样图未出现此类现象,考虑系鼓接触不良,打开前盖塞住门开关,用...
理光维修 访客 2
留言评论取消回复


